Chapter 4 - BATTLE DRILLS
Infantry battle drills describe how platoons and squads apply fire and maneuver to commonly encountered situations. They require leaders to make decisions rapidly and to issue brief oral orders quickly.
4-1. DEFINITION
FM 25-101 defines a battle drill as “a collective action rapidly executed without applying a deliberate decision-making process.”
a. Characteristics of a battle drill are–
-
They require minimal leader orders to accomplish and are standard throughout the Army.
-
Sequential actions are vital to success in combat or critical to preserving life.
-
They apply to platoon or smaller units.
-
They are trained responses to enemy actions or leader’s orders.
-
They represent mental steps followed for offensive and defensive actions in training and combat.
b. A platoons ability to accomplish its mission often depends on soldiers and leaders to execute key actions quickly. All soldiers and their leaders must know their immediate reaction to enemy contact as well as follow-up actions. Drills are limited to situations requiring instantaneous response; therefore, soldiers must execute drills instinctively. This results from continual practice. Drills provide small units with standard procedures essential for building strength and aggressiveness.
-
They identify key actions that leaders and soldiers must perform quickly.
-
They provide for a smooth transition from one activity to another; for example, from movement to offensive action to defensive action.
-
They provide standardized actions that link soldier and collective tasks at platoon level and below. (Soldiers perform individual tasks to CTT or SDT standard.)
-
They require the full understanding of each individual and leader, and continual practice.
4-2. FORMAT
The format for drills discussed in this chapter includes the title, the SITUATION that would cue the unit or the leader into initiating the drill, the REQUIRED ACTIONS in sequence, and supporting illustrations. Where applicable drills are cross-referenced with material in other chapters, or other drills, or both. Training standards for battle drills are in the, mission training plan (MTP).
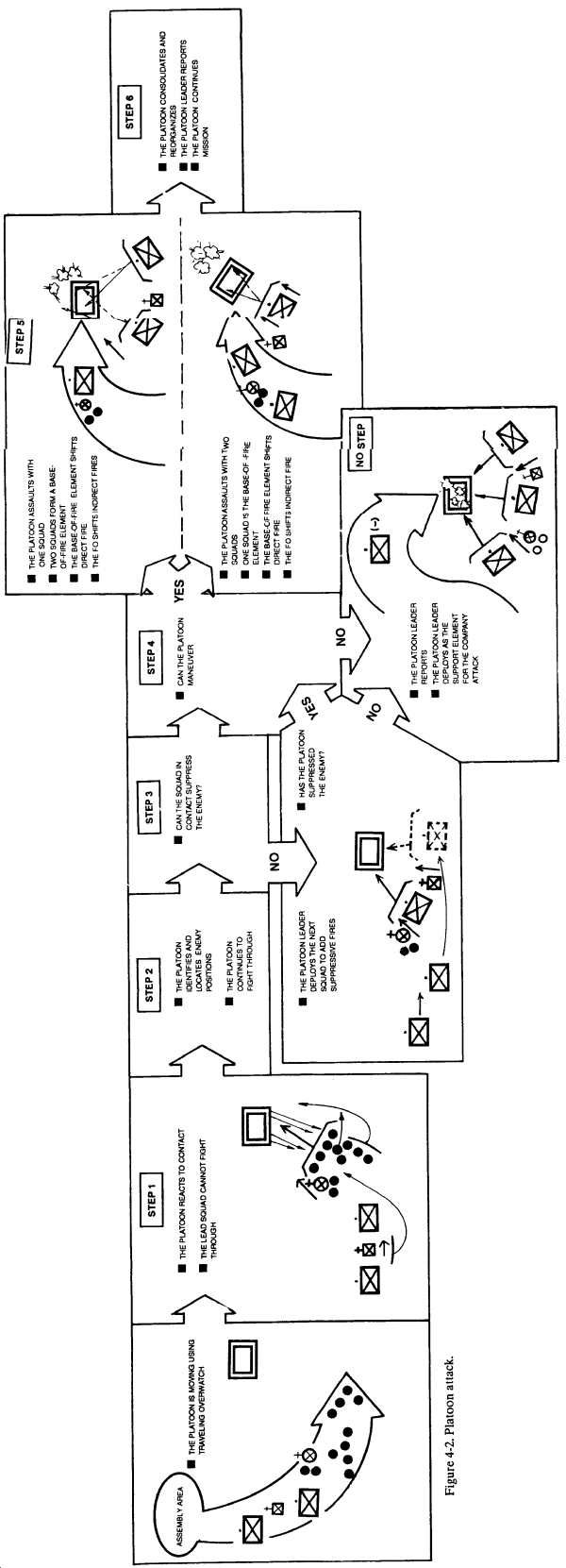
BATTLE DRILL 1. PLATOON ATTACK
SITUATION: The platoon is moving as part of a larger force conducting a movement to contact or a hasty or deliberate attack.
REQUIRED ACTIONS: (see Figure 4-2.)

STEP 1. Action on Enemy Contact.
a. The platoon initiates contact. The platoon leader plans when and how his base-of-fire element initiates contact with the enemy to establish a base of fire. This element must be in position and briefed before it initiates contact. If the platoon has not been detected, STEPS 1 and 2 consist of positioning the support element and identifying the enemy’s positions.
b. The enemy initiates contact. If the enemy initiates contact, the platoon takes the following actions:
(1) The squad in contact reacts to contact (Battle Drill 2). It attempts to achieve suppressive fires with one fire team and maneuvers the other team to attack the enemy in the flank. The squad leader notifies the platoon leader of his action.
(2) The platoon leader, his RATELO, the platoon FO, the squad leader of the next squad, and one machine gun team move forward to link up with the squad leader of the squad in contact.
(3) The squad leader of the trail squad moves to the front of his lead fire team.
(4) The platoon sergeant moves forward with the second machine gun team and links up with the platoon leader. If directed, he assumes control of the base-of-fire element and positions the machine guns to add suppressive fires against the enemy.
(5) The platoon leader assesses the situation. He follows the success of the squad’s flank attack by leading the trail squads along the covered and concealed route taken by the assaulting fire team of the squad in contact.
(6) If the squad in contact cannot achieve suppressive fire, the squad leader reports to the platoon leader.
(a) The squad in contact establishes a base of fire. The squad leader deploys his squad to provide effective, sustained fires on the enemy position. The squad leader reports his final position to the platoon leader.
(b) The remaining squads (not in contact) take up covered and concealed positions in place and observe to the flanks and rear of the platoon.
(c) The platoon leader moves forward with his RATELO, the platoon FO, the squad leader of the nearest squad, and one machine gun team.
STEP 2. Locate the Enemy.
a. The squad leader of the squad in contact reports the enemy size and location, and any other information to the platoon leader. The platoon leader completes the squad leader’s assessment of the situation.
b. The squad continues to engage the enemy’s position.
c. The platoon sergeant moves forward with the second machine gun team and links up with the platoon leader.
STEP 3. Suppress the Enemy.
a. The platoon leader determines if the squad in contact can gain suppressive fire against the enemy based on the volume and accuracy of the enemy’s return fire.
(1) If the answer is YES, he directs the squad (with one or both machine guns) to continue suppressing the enemy:
(a) The squad in contact destroys or suppresses enemy weapons that are firing most effectively against it; normally crew-served weapons.
(b) The squad in contact places screening smoke (M203) to prevent the enemy from seeing the maneuver element.
(2) If the answer is NO, the platoon leader deploys another squad and the second machine gun team to suppress the enemy position. (The platoon leader may direct the platoon sergeant to position this squad and one or both machine gun teams in a better support-by-fire position.)
b. The platoon leader again determines if the platoon can gain suppressive fires against the enemy.
(1) If the answer is YES, he continues to suppress the enemy with the two squads and two machine guns.
(a) The platoon sergeant assumes control of the base-of-fire element (squad in contact, the machine gun teams, and any other squads designated by the platoon leader).
(b) The machine gun team takes up a covered and concealed position and suppresses the enemy position.
(c) The platoon FO calls for and adjusts fires based on the platoon leader’s directions. (The platoon leader does not wait for indirect fires before continuing with his actions.)
(2) If the answer is still NO, the platoon leader deploys the last squad to provide flank and rear security and to guide the rest of the company forward as necessary, and reports the situation to the company commander. Normally the platoon will become the base-of-fire element for the company and may deploy the last squad to add suppressive fires. The platoon continues to suppress or fix the enemy with direct and indirect fire, and responds to orders from the company commander.
STEP 4. Attack.
If the squad(s) in contact together with the machine gun(s) can suppress the enemy, the platoon leader determines if the remaining squad(s) not in contact can maneuver. He makes the following assessment:
-
Location of enemy positions and obstacles.
-
Size of enemy force engaging the squad. (The number of enemy automatic weapons, the presence of any vehicles, and the employment of indirect fires are indicators of enemy strength.)
-
Vulnerable flank.
-
Covered and concealed flanking route to the enemy position.
a. If the answer is YES, the platoon leader maneuvers the squad(s) into the assault:
(1) Once the platoon leader has ensured that the base-of-fire element is in position and providing suppressive fires, he leads the assaulting squad(s) to the assault position.
(2) Once in position, the platoon leader gives the prearranged signal for the base-of-fire element to lift or shift direct fires to the opposite flank of the enemy position. (The assault element MUST pickup and maintain effective fires throughout the assault. Handover of responsibility for direct fires from the base-of-fire element to the assault element is critical.)
(3) The platoon FO shifts indirect fires to isolate the enemy position.
(4) The assaulting squad(s) fight through enemy positions using fire and maneuver. The platoon leader controls the movement of his squads. He assigns specific objectives for each squad and designates the main effort or base maneuver element. (The base-of-fire element must be able to identify the near flank of the assaulting squad(s).)
(5) In the assault, the squad leader determines the way in which he will move the elements of his squad based on the volume and accuracy of enemy fire against his squad and the amount of cover afforded by the terrain. In all cases, each soldier uses individual movement techniques as appropriate.

(a) The squad leader designates one fire team to support the movement of the other team by fires.
(b) The squad leader designates a distance or direction for the team to move. He accompanies one of the fire teams.
(c) Soldiers must maintain contact with team members and leaders.
(d) Soldiers time their firing and reloading in order to sustain their rate of fire.
(e) The moving fire team proceeds to the next covered position. Teams use the wedge formation when assaulting. Soldiers move in rushes or by crawling.
(f) The squad leader directs the next team to move.
(g) If necessary, the team leader directs soldiers to bound forward as individuals within buddy teams. Soldiers coordinate their movement and fires with each other within the buddy team. They maintain contact with their team leader.
(h) Soldiers fire from covered positions. They select the next covered position before moving. They either rush forward (no more than 5 seconds), or use high or low crawl techniques based on terrain and enemy fires.
b. If the answer is NO, or the assaulting squad(s) cannot continue to move, the platoon leader deploys the squad(s) to suppress the enemy and reports to the company commander. The platoon continues suppressing enemy positions and responds to the orders of the company commander.
STEP 5. Consolidate and Reorganize.
a. Consolidate. Once the assaulting squad(s) has seized the enemy position, the platoon leader establishes local security. (The platoon must prepare to defeat an enemy counterattack. The platoon is most vulnerable at the conclusion of the assault.)
(1) The platoon leader signals for the base-of-fire element to move up into designated positions.
(2) The platoon leader assigns sectors of fire for each squad.
(3) The platoon leader positions keys weapons to cover the most dangerous avenue(s) of approach.
(4) The platoon sergeant begins coordination for ammunition resupply.
(5) Soldiers take up hasty defensive positions.
(6) The platoon leader and his FO develop a quick fire plan.
(7) The squads place out OPs to warn of enemy counterattacks.
b. Reoganize.
(1) The platoon performs the following tasks (only after it completes the consolidation of the objective):
(a) Reestablish the chain of command.
(b) Redistribute and resupply ammunition.
(c) Man crew-served weapons first.
(d) Redistribute critical equipment (radios, NBC, NVDs).
(e) Treat casualties and evacuate wounded.
(f) Fill vacancies in key positions.
(g) Search, silence, segregate, safeguard, and speed EPWs to collection points.
(h) Collect and report enemy information and materiel.
(2) Squad leaders provide ammunition, casualty, and equipment (ACE) reports to the platoon leader.
(3) The platoon leader consolidates ACE reports and passes them to the company commander (or XO).
(4) The platoon continues the mission after receiving guidance from the company commander. The company follows the success of the platoon’s flanking attack.
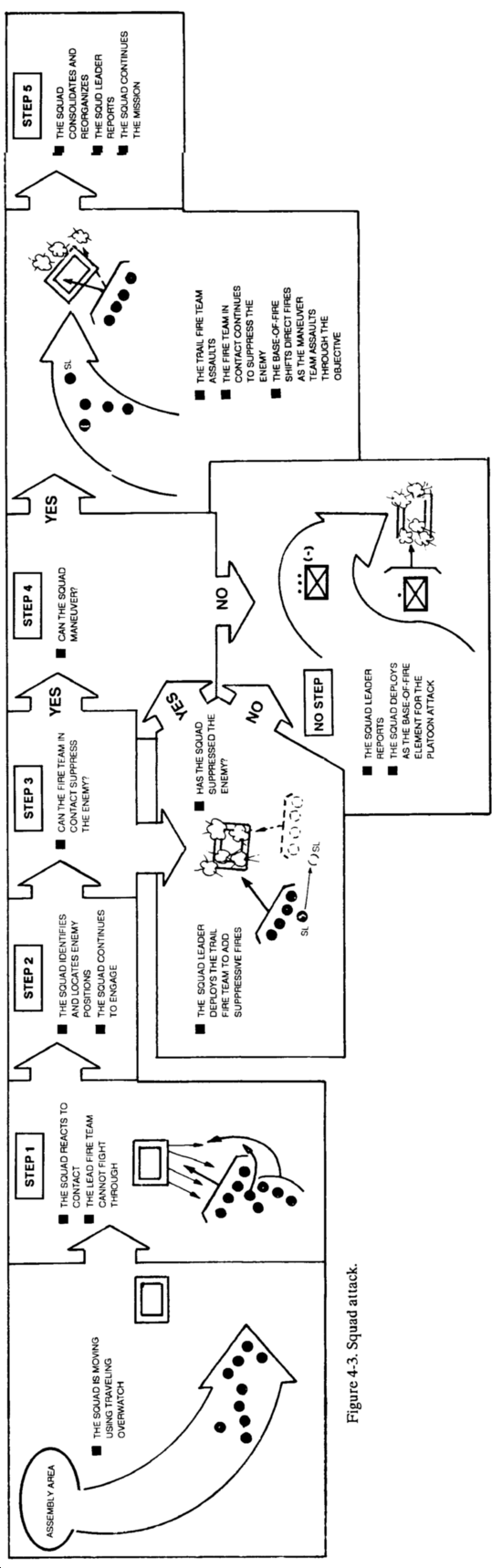
BATTLE DRILL 1A. SQUAD ATTACK
SITUATION: The squad is moving as part of the platoon conducting a movement to contact or a hasty or deliberate attack.
REQUIRED ACTIONS: (Figure 4-3):
STEP 1. Action on Enemy Contact.

a. Soldiers receiving fire take up nearest positions that afford protection from enemy fire (cover) and observation (concealment).
b. The fire team in contact immediately returns heavy volume of suppressive fire in the direction of the enemy.
(1) Soldiers in the fire team in contact move to positions (bound or crawl) from which they can fire their weapons, position themselves to ensure that they have observation, fields of fire, cover, and concealment. They continue to fire and report known or suspected enemy positions to the fire team leader.
(2) The team leader directs fires using tracers or standard fire commands.
(3) The fire team not in contact takes covered and concealed positions in place and observes to the flanks and rear of the squad.
(4) The squad leader reports contact to the platoon leader and moves toward the fire team in contact.
STEP 2. Locate the Enemy.
a. Using sight and sound, the fire team in contact acquires known or suspected enemy positions.
b. The fire team in contact begins to place well-aimed fire on suspected enemy positions.
c. The squad leader moves to a position where he can observe the enemy and assess the situation.
d. The squad leader requests, through the platoon leader, for immediate suppression indirect fires (normally 60-mm mortars).
e. The squad leader reports the enemy size and location, and any other information to the platoon leader. (As the platoon leader comes forward, he completes the squad leader’s assessment of the situation.)
STEP 3. Suppress the Enemy.
The squad leader determines if the fire team in contact can gain suppressive fire based on the volume and accuracy of the enemy fire.
a. If the answer is YES, the fire team leader continues to suppress the enemy:
(1) The fire team destroys or suppresses enemy crew-served weapons first.
(2) The fire team places smoke (M203) on the enemy position to obscure it.
(3) The fire team leader continues to control fires using tracers or standard fire commands. Fires must be well-aimed and continue at a sustained rate with no lulls.
(4) Buddy teams fire their weapons so that both are not reloading their weapons at the same time.
b. If the answer is NO, the squad leader then deploys the fire team not in contact to establish a support-by-fire position. He reports the situation to the platoon leader. Normally, the squad will become the base-of-fire element for the platoon. The squad continues to suppress the enemy and responds to orders from the platoon leader. (The platoon leader, his RATELO, the platoon FO, one machine gun team, and the squad leader of the next squad, as well as the platoon sergeant and the other machine gun team, are already moving forward IAW Battle Drill 1, Platoon Attack.)
STEP 4. Attack.
If the fire team in contact can suppress the enemy, the squad leader determines if the fire team not in contact can maneuver. He makes the following assessment:
-
Location of enemy position(s) and obstacles.
-
Size of enemy force engaging the squad. (The number of enemy automatic weapons, the presence of any vehicles, and the employment of indirect fires are indicators of enemy strength.)
-
Vulnerable flank.
-
Covered and concealed flanking route to the enemy position.
a. If the answer is YES, the squad leader maneuvers the fire team in the assault:
(1) The squad leader directs the fire team in contact to support the movement of the other fire team. He then leads or directs the assaulting fire team leader to maneuver his fire team along a route that places the fire team in a position to assault the enemy. (The assaulting fire team must pick up and maintain fire superiority throughout the assault. Handover of responsibility for direct fires from the supporting fire team to the assaulting fire team is critical.)
(2) Once in position, the squad leader gives the prearranged signal for the supporting fire team to lift fires or shift fires to the opposite flank of the enemy position.
(3) The assaulting fire team fights through enemy positions using fire and movement. (The supporting fire team must be able to identify the near flank of the assaulting fire team.)
(a) The team leader selects the route that allows him to reach his objective, while providing the best available cover and concealment for his team. The team leader then leads his team, from up front, in a shallow wedge throughout the attack.
(b) Fire team members conduct individual movement techniques as individuals or buddy teams, while maintaining their relitive position in the assault formation. At the end of each move, soldiers take up covered and conceiled positions and resume firing.
b. If the answer is NO or the assaulting fire team cannot continue to move, the squad leader deploys the assaulting fire team to add its fires against the enemy, reports to the platoon leader and requests instructions. The squad continues suppressing enemy positions and responds to the orders of the platoon leader.
STEP 5. Consolidate and Reorganize.
a. Once the assaulting fire team has seized the enemy position, the squad leader establishes local security. (The squad leader must quickly prepare to defeat any enemy counterattack. At the conclusion of the assault, the squad is most vulnerable.)
(1) The squad leader signals for the supporting fire team to move up into a designated position.
(2) The squad leader assigns sectors of fire for both fire teams.
(3) The squad leader positions key weapons.
(4) All soldiers take up hasty defensive positions.
(5) The squad leader develops an initial fire support plan against an enemy counterattack. (As the platoon moves up, he hands the plan to the platoon leader for further development.)
(6) The squad leader posts an OP to warn of enemy activity.
b. The squad performs the following tasks:
(1) Reestablish the chain of command.
(2) Redistribute and resupply ammunition.
(3) Man crew-served weapons first.
(4) Redistribute critical equipment (for example, radios, NBC, NVDs).
(5) Treat casualties and evacuate wounded.
(6) Fill vacancies in key positions.
(7) Search, silence, segregate, safeguard, and speed EPWs to collection points.
(8) Collect and report enemy information and materiel.
c. Team leaders provide ammunition, casualty, and equipment (ACE) reports to the squad leader.
d. The squad leader consolidates the ACE report and passes it to the platoon leader (or platoon sergeant).
e. The squad continues the mission after receiving instructions from the platoon leader. (The platoon follows the success of the squad’s flanking attack with the remaining squads as part of the platoon attack.)
f. The squad leader reports the situation to the platoon leader.
BATTLE DRILL 2. REACT TO CONTACT
SITUATION: A squad or platoon receives fires from enemy individual or crew-served weapons.
REQUIRED ACTIONS: (Figure 4-4.)

1. Soldiers immediately take up the nearest covered positions and return fire in the direction of contact.
2. Team/squad leaders locate and engage known or suspected enemy positions with well-aimed fire, and pass information to the squad/platoon leader.
3. Fire team leaders control fire using standard fire commands (initial and supplemental) containing the following elements:
-
Alert.
-
Direction.
-
Description of target.
-
Range.
-
Method of fire (manipulation, and rate of fire).
-
Command to commence firing.
4. Soldiers maintain contact with the soldiers on their left and right.
5. Soldiers maintain contact with their team leaders and report the location of enemy positions.
6. Leaders check the status of their personnel.
7. The team/squad leaders maintain contact with the squad/platoon leader.
8. The squad/platoon leader–
a. Moves up to the fire team/squad in contact and links up with its leader. (The platoon leader brings his RATELO, platoon FO, the squad leader of the nearest squad, and one machine gun team. The squad leader of the trail squad moves to the front of his lead fire team. The platoon sergeant also moves forward with the second machine gun team and links up with the platoon leader, ready to assume control of the base-of-fire element.)
b. Determines whether or not his squad/platoon must move out of an engagement area.
c. Determines whether or not he can gain and maintain suppressive fires with his element already in contact (based on the volume and accuracy of enemy fires against the element in contact).
d. Makes an assessment of the situation. He identifies–
-
The location of the enemy position and obstacles.
-
The size of the enemy force. (The number of enemy automatic weapons, the presence of any vehicles, and the employment of indirect fires are indicators of the enemy strength.)
-
Vulnerable flanks.
-
Covered and concealed flanking routes to the enemy position.
e. Determines the next course of action (for example, fire and movement, assault, breach, knock out bunker, enter and clear a building or trench).
f. Reports the situation to the platoon leader/company commander and begins to maneuver.
g. Calls for and adjusts indirect fire (mortars or artillery). (Squad leaders relay requests through the platoon leader.)
9. Team leaders lead their teams by example; for example, “Follow me, do as I do.”
10. Leaders relay all commands and signals from the platoon chain of command.
BATTLE DRILL 3. BREAK CONTACT
SITUATION: The squad/platoon is under enemy fire and must break contact.
REQUIRED ACTIONS: (Figure 4-5.)

1. The squad/platoon leader directs one fire team/squad in contact to support the disengagement of the remainder of the unit.
2. The squad/platoon leader orders a distance and direction, or a terrain feature, or last objective rally point for the movement of the first fire team/squad.
3. The base of fire (fire team/squad) continues to suppress the enemy.
4. The moving element uses fragmentation, concussion, and smoke grenades to mask its movement.
5. The moving element takes up the designated position and engages the enemy position.
6. The platoon leader directs the base-of-fire element to move to its next location. (Based on the terrain and the volume and accuracy of the enemy’s fire, the moving fire team/squad may need to use fire and movement techniques.
7. The squad/platoon continues to bound away from the enemy until (the squad/platoon must continue to suppress the enemy as it breaks contact)–
-
It breaks contact.
-
It passes through a higher level support-by-fire position.
-
Its fire teams/squads are in the assigned position to conduct the next mission.
8. The leader should consider changing the direction of movement once contact is broken. This will reduce the ability of the enemy to place effective indirect fires on the unit.
9. If the squad or platoon becomes disrupted, soldiers stay together and move to the last designated rally point.
10. Squad/platoon leaders account for soldiers, report, reorganize as necessary and continue the mission.
BATTLE DRILL 4. REACT TO AMBUSH
SITUATION: If the squad/platoon enters a kill zone and the enemy initiates an ambush with a casualty-producing device and a high volume of fire, the unit takes the following actions.
REQUIRED ACTIONS: (Figure 4-6.)

1. In a near ambush (within hand-grenade range), soldiers receiving fire immediately return fire, take up covered positions, and throw fragmentation concussion, and smoke grenades.
a. Immediately after the grenades detonate, soldiers in the kill zone assault through the ambush using fire and movement.
b. Soldiers not in the kill zone immediately–
-
Identify enemy positions.
-
Initiate immediate suppressive fires against the enemy.
-
Take up covered positions.
-
Shift fires as the soldiers in the kill zone assault through the ambush.
2. In a far ambush (beyond hand-grenade range). soldiers receiving fire immediately return fire, take up covered positions, and suppress the enemy by–
-
Destroying or suppressing enemy crew-served weapons first.
-
Obscuring the enemy position with smoke (M203).
-
Sustaining suppressive fires.
a. Soldiers (teams/squads) not receiving fires move by a covered and concealed route to a vulnerable flank of the enemy position and assault using fire and movement techniques.
b. Soldiers in the kill zone continue suppressive fires and shift fires as the assaulting team/squad fights through the enemy position.
3. The platoon FO calls for and adjusts indirect fires as directed by the platoon leader. On order, he lifts fires or shifts them to isolate the enemy position, or to attack them with indirect fires as they retreat.
4. The squad/platoon leader reports, reorganizes as necessary, and continues the mission.
BATTLE DRILL 5. KNOCK OUT BUNKERS
SITUATION: The platoon identifies enemy in bunkers while moving as a part of a larger force.
REQUIRED ACTIONS: (Figures 4-7 and 4-8.)

1. The platoon initiates contact:
a. The squad in contact establishes a base of fire.
b. The platoon leader, his RATELO, platoon FO, and one machine gun team move forward to link up with the squad leader of the squad in contact.
c. The platoon sergeant moves forward with the second machine gun team and assumes control of the base-of-fire element.
d. The base-of-fire element–
(1) Destroys or suppresses enemy crew-served weapons first.
(2) Obscures the enemy position with smoke (M203).
(3) Sustains suppressive fires at the lowest possible level.
e. The platoon FO calls for and adjusts indirect fires as directed by the platoon sergeant.
2. The platoon leader determines that he can maneuver by identifying–
a. The enemy bunkers, other supporting positions, and any obstacles.
b. The size of the enemy force engaging the platoon. (The number of enemy automatic weapons, the presence of any vehicles, and the employment of indirect fires are indicators of enemy strength.)
c. A vulnerable flank of at least one bunker.
d. A covered and concealed flanking route to the flank of the bunker.
3. The platoon leader determines which bunker is to be assaulted first and directs one squad (not in contact) to knock it out.
4. If necessary, the platoon sergeant repositions a squad, fire team, or machine gun team to isolate the bunker as well as to continue suppressive fires.
- The assaulting squad, with the platoon leader and his RATELO, move along the covered and concealed route and take action to knock out the bunker.
a. The squad leader moves with the assaulting fire team along the covered and concealed route to the flank of the bunker.
(1) The assaulting fire team approaches the bunker from its blind side and does not mask the fires of the base-of-fire element.
(2) Soldiers constantly watch for other bunkers or enemy positions in support of it.
b. Upon reaching the last covered and concealed position–
(1) The fire team leader and the automatic rifleman remain in place and add their fires to suppressing the bunker (includes the use of LAW/AT4s).
(2) The squad leader positions himself where he can best control his teams. On the squad leader’s signal, the base-of-fire element lifts fires or shifts fires to the opposite side of the bunker from the assaulting fire team’s approach.
(3) The grenadier and rifleman continue forward to the blind side of the bunker. One soldier takes up a covered position near the exit, while one soldier cooks off (two seconds maximum) a grenade, shouts FRAG OUT, and throws it through an aperture.
(4) After the grenade detonates, the soldier covering the exit enters the bunker, firing short bursts, to destroy the enemy. The soldier who throws the grenade should not be the first one to clear the bunker.
c. The squad leader inspects the bunker to ensure that it has been destroyed. He reports, reorganizes as needed, and continues the mission. The platoon follows the success of the attack against the bunker and continues the attack of other bunkers.
6. The platoon leader repositions base-of-fire squads as necessary to continue to isolate and suppress the remaining bunkers, and maintain suppressive fires.
7. The platoon leader either redesignates one of the base-of-fire squads to move up and knock out the next bunker; or, directs the assaulting squad to continue and knock out the next bunker.
NOTE: The platoon leader must consider the condition of his assaulting squad(s) (ammunition and exhaustion) and rotate squads as necessary.
a. On the platoon leader’s signal, the base-of-fire element lifts fires or shifts fires to the opposite side of the bunker from which the squad is assaulting.
b. At the same time, the platoon FO shifts indirect fires to isolate enemy positions.
8. The assaulting squad takes action to knock out the next bunker (see paragraph 5, above).
9. The platoon leader reports, reorganizes as necessary, and continues the mission. The company follows up the success of the platoon attack and continues to assault enemy positions.
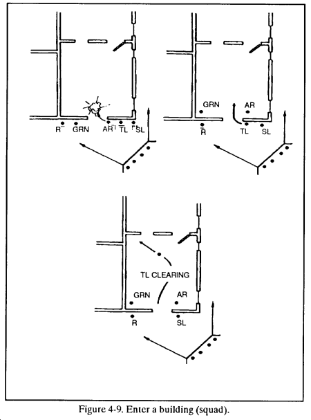
BATTLE DRILL 6. ENTER BUILDING/CLEAR ROOM
SITUATION: Operating as part of a larger force, the squad is moving and identifies an enemy force in a building.
REQUIRED ACTIONS: (Figures 4-9 and 4-10.)

NOTE: The discussion that follows assumes that the infantry squad is supported only by the platoon’s organic weapons. The preferred method of entering a building is to use a tank main gun round; direct-fire artillery round; or TOW, Dragon, or Hellfire missile to clear the first room. Additionally, some MOUT situations may require precise application firepower. This is true of a MOUT environment where the enemy is mixed with noncombatants. The presence of civilians can restrict the use of fires and reduce the combat power available to a platoon leader. His platoon may have to operate with “no fire” areas. Rules of engagement (ROE) can prohibit the use of certain weapons until a specific hostile action takes place. The use of hand grenades and suppressive fire to enter rooms may be prohibited to preclude noncombatant casualties and collateral damage. All leaders must be aware of the ROE. They must include the precise use of weapons in their planning for MOUT missions. This includes how the platoon will employ its organic weapons including snipers and other weapon systems it may have in support; for example, AC 130 or AH 64 aircraft. They must coordinate the use of marking systems to prevent casualties due to friendly fire. FM 90-10 and FM 90-10-1 provide additional techniques for platoons and squads in MOUT.
1. The fire team initiating contact establishes a base of fire and suppresses the enemy in and around the building.
2. The squad leader determines that he can maneuver by identifying–
a. The building and any obstacles.
b. The size of the enemy force engaging the squad.
c. An entry point. (Assaulting fire teams should enter the building at the highest level possible.)
d. A covered and concealed route to the entry point.
3. The fire team in contact–
a. Destroys or suppresses enemy crew-served weapons first.
b. Obscures the enemy position with smoke (M203).
c. Sustains suppressive fires.
4. The squad leader directs the fire team in contact to support the entry of the other fire team into the building.
5. If necessary, the supporting fire team repositions to isolate the building as well as continue suppressive fires. (Normally, the platoon has added its supporting fires against the enemy.)
6. The squad leader designates the entry point of the building. The platoon and squad shift direct fires and continue to suppress the enemy in adjacent positions and to isolate the building. The platoon FO lifts indirect fires or shifts them beyond the building.
7. The squad leader and the assaulting fire team approach the building and position themselves at either side of the entrance. (Soldiers should avoid entering buildings through doors and windows, because they will normally be covered by enemy weapons inside the building.)
- Allowing cook-off time (two seconds maximum), and shouting FRAG OUT, the lead soldier of the assaulting fire team prepares and throws a grenade into the building.
**
DANGER______________________________________________________
If walls and floors are thin, they do not provide protection from hand grenade fragments.
**
9. After the explosion, the next soldier enters the building and positions himself to the right (left) of the entrance, up against the wall, engages all identified or likely enemy positions with rapid, short bursts of automatic fire, and scans the room. The rest of the team provides immediate security outside the building.
a. The size and shape of the room may cause the soldier entering the room to move to the left or right. The first soldier in the room decides where the next man should position himself and gives the command NEXT MAN IN, LEFT (or RIGHT). The next man shouts COMING IN, LEFT (RIGHT), enters the building, positions himself to the left of the entrance, up against the wall, and scans the room. Once in position, he shouts NEXT MAN IN (RIGHT or LEFT).
b. Depending on the enemy’s situation, the size of the entry and the training of the squad, two soldiers can enter the room simultaneously after the grenade detonates. The soldier from the right side of the entry enters, fires from left to right, and moves to right with his back to the wall. At the same time, the soldier on the left enters from the left, fires from right to left, and moves to the left with his back to the wall. One soldier goes high, the other low, to prevent firing at one another. This method puts more firepower in the room more quickly, but is more difficult and requires more practice. When both soldiers are in position, the senior soldier gives the command NEXT MAN IN (RIGHT or LEFT).
10. The assaulting fire team leader shouts COMING IN (RIGHT or LEFT), enters the building initially moving left or right and against the wall, and positions himself where he can control the actions of his team. He does not block the entrance way. He makes a quick assessment of the size and shape of the room, and begins to clear the room. He determines if the remaining man in his team is required to assist in clearing the room.
a. If the team leader decides to bring the last man in, he shouts NEXT MAN IN LEFT (or RIGHT). The last man in the fire team shouts COMING IN LEFT (or RIGHT), enters the building, and begins to clear through the room.
b. If the team leader decides not to bring the last man in, he shouts NEXT MAN, STAND FAST. The last man remains outside the building and provides security from there. The team leader then directs the soldier on the right of the entrance to begin clearing. The team leader reports to the squad leader and then assumes the duties of the soldier on the right of the entrance to provide support.
**
DANGER _____________________________________________________________
While clearing rooms, soldiers must be alert for trip wires and booby traps. They should not expose themselves through open windows or doors.
**
11. Once the room is cleared, the team leader signals to the squad leader that the room is cleared.
12. The squad leader enters the building and marks the entry point in accordance with the SOP. The squad leader determines whether or not his squad can continue to clear rooms and still maintain suppressive fires outside the building. Normally, it takes a platoon to clear a building.
13. The squad leader and assault fire team move to the entrance of the next room to be cleared and position themselves on either side of the entrance. The squad enters and clears all subsequent rooms by repeating the actions discussed in paragraphs 8 through 12, above.
14. The squad leader directs the team to continue and clear the next room. The squad leader rotates fire teams as necessary to keep the soldiers fresh, to equitably distribute the dangerous duties, and to continue the momentum of the attack.
15. The squad leader follows the fire team that is clearing to ensure that cleared rooms are properly marked in accordance with the SOP.
16. The squad leader assesses the situation to determine if he can continue clearing the building. He reports the situation to the platoon leader. The platoon follows the success of the entry into the building.
17. The squad consolidates its position in the building and then reorganizes as necessary. Leaders redistribute ammunition.
NOTE: Normally the squad/platoons will suppress enemy in buildings with large caliber weapons (particularly if HMMWVs with caliber .50, BFVs, or tanks are available).
BATTLE DRILL 7. ENTER/CLEAR A TRENCH
SITUATION: The platoon is attacking as part of a larger force and identifies enemy in a trench line. The platoon deploys and establishes a base of fire. The platoon leader determines that he has sufficient combat power to maneuver and assault the trench line.
REQUIRED ACTIONS: ( Figures 4-11 and 4-12.)

1. The platoon leader directs one squad to enter the trench and secure a foothold.
2. The platoon leader designates the entry point of the trench line and the direction of movement once the platoon begins clearing.
3. The platoon sergeant positions soldiers and machine guns to suppress the trench and isolate the entry point.
4. The assaulting squad executes actions to enter the trench and establish a foothold. The squad leader directs one fire team to assault and one fire team to support by fire initially, then follow and support the assaulting fire team. He designates the entry point of the trench line.
a. The squad leader and the assault fire team move to the last covered and concealed position short of the entry point.
(1) The squad leader marks the entry point.
(2) The base-of-fire element shifts direct fires away from the entry point and continues to suppress adjacent enemy positions or isolate the trench as required.
(3) The assault fire team leader and the automatic rifleman remain in a position short of the trench to add suppressive fires for the initial entry.
(4) The two remaining soldiers of the assault fire team (rifleman and grenadier) continue toward the entry point. They move in rushes or by crawling.
(5) The squad leader positions himself where he can best control his teams.
b. The first two soldiers (rifleman and grenadier) of the assault fire team move to the edge of the trench; parallel to the trench and on their backs; on the squad leader’s command, cook-off grenades (two seconds maximum), shout FRAG OUT, and throw the grenades into the trench.
(1) After ensuring that both grenades detonate, the soldiers roll into the trench, landing on their feet, and back-to-back. They fire their weapons down the trench in opposite directions. Immediately, both soldiers move in opposite directions down the trench, continuing to fire three-round bursts. Each soldier continues until he reaches the first corner or intersection. Both soldiers halt and take up positions to block any enemy movement toward the entry point.
(2) Upon detonation of the grenades, the assault fire team leader and the automatic rifleman immediately move to the entry point and enter the trench. The squad leader directs them to one of the secured corners or intersections to relieve the rifleman or grenadier who then rejoins his buddy team at the opposite end of the foothold.
c. The squad leader remains at the entry point and marks it.
d. The squad leader reports to the platoon leader that he has entered the trench and secured a foothold. The platoon follows the success of the seizure of the foothold with the remainder of the platoon as part of the platoon actions to clear a trench line.
e. The squad reorganizes as necessary. Leaders redistribute ammunition.
5. The platoon leader directs one of the base-of-fire element squads to move into the trench and begin clearing it in the direction of movement from the foothold.
6. The base-of-fire element repositions as necessary to continue suppressive fires.
7. The platoon leader moves into the trench with the assaulting squad.
8. The assaulting squad passes the squad that has secured the foothold and executes actions to take the lead and clear the trench.
a. The squad leader designates a lead fire team and a trail fire team.
b. The lead fire team and the squad leader move to the forward-most secure corner or intersection. The squad leader tells the team securing that corner or intersection that his squad is ready to continue clearing the trench. The trail fire team follows maintaining visual contact with the last soldier of the lead team.
NOTE: Throughout this technique, the team leader positions himself at the rear of the fire team to have direct control (physically, if necessary) of his soldiers. Other soldiers in the fire team rotate the lead. Soldiers rotate the lead to change magazines and prepare grenades. Rotating the lead provides constant suppressive fires down the trench and maintains the momentum of the attack as the squad clears the trench.
c. The lead fire team passes the element securing the foothold.
(1) The lead soldier of the fire team moves abreast of the soldier securing the corner or intersection, taps him, and announces TAKING THE LEAD.
(2) The soldier securing the corner or intersection acknowledges that he is handing over the lead by shouting OKAY. He allows the fire team to pass him.
d. The lead fire team starts clearing in the direction of movement. They arrive at a corner or intersection.
(1) Allowing for cook-off (two seconds maximum) and shouting FRAG OUT, the second soldier prepares and throws a grenade around the corner.
(2) Upon detonation of the grenade, the lead soldier moves around the corner firing three round bursts and advancing as he fires. The entire fire team follows him to the next corner or intersection.
e. The squad leader–
(1) Follows immediately behind the lead team.
(2) Ensures that the trailing fire team moves up and is ready to pass the lead at his direction.
(3) Rotates fire teams as necessary to keep his soldiers fresh and to maintain the momentum of the attack.
(4) Requests indirect fires, if necessary, through the platoon leader.
**
DANGER _____________________________________________________________
The fire teams must maintain sufficient interval to prevent them from being engaged by the same enemy fires.
**
f. At each corner or intersection, the lead fire team performs the same actions described above (paragraph d).
g. If the lead soldier finds that he is nearly out of ammunition before reaching a corner or intersection, he announces AMMO.
(1) Immediately, the lead soldier stops and moves against one side of the trench, ready to let the rest of the team pass. He continues to aim his weapon down the trench in the direction of movement.
(2) The next soldier ensures that he has a full magazine, moves up abreast of the lead soldier, taps him and announces TAKING THE. LEAD.
(3) The lead soldier acknowledges that he is handing over the lead by shouting OKAY, positions rotate, and the squad continues forward.
h. The trailing fire team secures intersections and marks the route within the trench as the squad moves forward. The trailing fire team leader ensures that follow-on squads relieve his buddy teams to maintain security.
i. The squad leader reports the progress of the clearing operation. (The base-of-fire element must be able to identify the location of the lead fire team in the trench at all times.)
9. The platoon leader rotates squads to keep soldiers fresh and to maintain the momentum of the assault.
10. The platoon sergeant calls forward ammunition resupply and organizes teams to move it forward into the trench.
11. The base-of-fire element ensures that all friendly forces move into the trench ONLY through the designated entry point. (All movement must be made in the trench to avoid casualties by friendly fires.)
12. The platoon leader reports to the company commander that the trench line is secured, or that he is no longer able to continue clearing.
BATTLE DRILL 8. CONDUCT INITIAL BREACH OF A MINED WIRE OBSTACLE
SITUATION: The platoon is operating as part of a larger force. The lead squad identifies a wire obstacle, reinforced with mines, that cannot be bypassed and enemy positions on the far side of the obstacle.
REQUIRED ACTIONS: (Figures 4-13 and 4-14.)

1. The platoon leader, his RATELO, platoon FO, and one machine gun team move forward to link up with the squad leader of the lead squad.
2. The platoon leader determines that he can maneuver by indentifying–
a. The obstacle and enemy positions covering it by fire.
b. The size of the enemy force engaging the squad. (The number of enemy automatic weapons, the presence of any vehicles, and the employment of indirect fires are indicators of enemy strength.)
c. A breach point.
d. A covered and concealed route to the breach point.
e. A support-by-fire position large enough for a squad reinforced with machine guns.
3. The platoon leader directs one squad to support the movement of another squad(s) to the breach point. He indicates the support-by-fire position, the route to it, the enemy position to be suppressed, the breach point, and the route that the rest of the platoon will take to it. He also gives instructions for lifting and shifting fires.
4. The platoon leader designates one squad as the breach squad, and the remaining squad, as the assault squad once the breach has been made. (The assault squad may add its fires to the base-of-fire element. Normally, it follows the covered and conceded route of the breach squad and assaults through immediately after the breach is made.)
5. The designated squad moves to and establishes a base of fire.
6. The platoon sergeant moves forward to the base-of-fire element with the second machine gun team and assumes control of the element.
7. On the platoon leader’s signal, the base-of-fire element–
a. Destroys or suppresses enemy crew-served weapons, first.
b. Obscures the enemy position with smoke (M203).
c. Sustains suppressive fires at the lowest possible level.
8. The platoon leader designates the breach point and leads the breach and assault squads along the covered and concealed route to it.
9. The platoon FO calls for and adjusts indirect fires as directed by the platoon leader.
10. The breach squad executes actions to breach the obstacle.
a. The squad leader directs one fire team to support the movement of the other fire team to the breach point.
b. The squad leader identifies the breach point.
c. The base-of-fire element continues to provide suppressive fires and isolates the breach point.
d. The breaching fire team, with the squad leader, move to the breach point using the covered and concealed route.
(1) The squad leader and breaching fire team leader employ smoke grenades to obscure the breach point. The platoon base-of-fire element shifts direct fires away from the breach point and continue to suppress key enemy positions. The platoon FO lifts indirect fires or shifts them beyond the obstacle.
(2) The breaching fire team leader positions himself and the automatic rifleman on one flank of the breach point to provide close-in security.
(3) The grenadier and rifleman of the breaching fire team probe for mines, and cut the wire obstacle, marking their path as they proceed. (Bangalore is preferred, if available.)
(4) Once the obstacle has been breached, the breaching fire team leader and the automatic rifleman move to the far side of the obstacle and take up covered and concealed positions with the rifleman and grenadier. The team leader signals to the squad leader when they are in position and ready to support.
e. The squad leader signals the supporting fire team leader to move his fire team up and through the breach. He then moves through the obstacle and joins the breaching fire team, leaving the grenadier and rifleman of the supporting fire team on the near side of the breach to guide the rest of the platoon through.
f. Using the same covered and concealed route as the breaching fire team, the supporting fire team moves through the breach and takes up covered and concealed positions on the far side.
g. The squad leader reports to the platoon leader and consolidates as needed.
11. The platoon leader leads the assault squad through the breach in the obstacle and positions them beyond the breach to support the movement of the remainder of the platoon or assaults the enemy position covering the obstacle.
12. The platoon leader reports the situation to the company commander and directs his base-of-fire element to move up and through the obstacle. The platoon leader leaves guides to guide the company through the breach point.
13. The company follows up the success of the platoon as it conducts the breach and continues the assault against the enemy positions.